флудерная

Для общения посетителей. Общие вопросы по тематике сайта.

Модераторы: Руслан-Д, новичок, Володька Николаев, argon84, Вопрос, mmcl200

~~~~
Аватара пользователя
МВП
Сообщения: 3713
Зарегистрирован: 19 окт 2010, 19:08
Откуда: Сызрань

флудерная

Сообщение МВП »

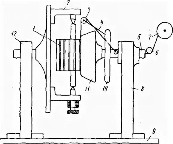
Hitek писал(а): 24 фев 2025, 12:54 https://www.avito.ru/saratov/kollektsio ... oc_sharing

Шо це таке?
Вдруг мне надо? Спать не могу... :)))
Скорее всего половинка от намоточника роторов . в ЭРЕ бабы вроде на таких мотали , много воды утекло к станкам не приглядывался в те времена но какой то смутный образ остался
такой же мутный и схематичный
https://avatars.mds.yandex.net/i?id=77b ... humbs&n=13
Hitek
Сообщения: 2566
Зарегистрирован: 30 июн 2015, 13:57
Имя: Иван
Откуда: Пугачев

флудерная

Сообщение Hitek »

МВП писал(а): 24 фев 2025, 16:09
Hitek писал(а): 24 фев 2025, 12:54 https://www.avito.ru/saratov/kollektsio ... oc_sharing

Шо це таке?
Вдруг мне надо? Спать не могу... :)))
Скорее всего половинка от намоточника роторов . в ЭРЕ бабы вроде на таких мотали , много воды утекло к станкам не приглядывался в те времена но какой то смутный образ остался
такой же мутный и схематичный
https://avatars.mds.yandex.net/i?id=77b ... humbs&n=13
Там ничего не крутится. И нониус на перемещение между "иголками" в 2 сотки зачем-то %)
Аватара пользователя
МВП
Сообщения: 3713
Зарегистрирован: 19 окт 2010, 19:08
Откуда: Сызрань

флудерная

Сообщение МВП »

Если блинчик с зади не является весами нижнего конуса то я точно незнай чо предположить .
Hitek
Сообщения: 2566
Зарегистрирован: 30 июн 2015, 13:57
Имя: Иван
Откуда: Пугачев

флудерная

Сообщение Hitek »

Логично! @=
Аватара пользователя
leon10010
Сообщения: 631
Зарегистрирован: 13 янв 2011, 00:13
Имя: Олег
Откуда: Жердевка

флудерная

Сообщение leon10010 »

В субботу поехал на кладбище к родителям. По пути на выезде с городка остановился у магазина пятерки. Пошёл конфет купить. На крылечке цыганка стоит.
Зашел, купил конфет и вышел, ну минуты две-три.
Цыганка на выходе денег спросила, на хер её послал . И к машине.
Открываю дверь - не пойму. Машина запищала, ключи в замке.
Ну думаю, забыл ключи. дурак. Хотя всегда в карман кладу, и машина должна запищать - с ключами в замке.
Заводить - хрена. Еле крутит стартер.
Че меня смутило - до этого две недели со стартером мозги себе канапатил.
В итоге - аккумулятор новый, генератор сменил и стартер. Без проблем все стало...
Ну думаю, что еще может быть? Масса от мотора отваливается?
В итоге другу позвонил - он приехал дернул меня. Дома встал. Заглушил - завелась. Через час - завелась..
На следующий день - по морозу завелась.
А сегодня днем стал анализировать - да у меня ж ключи спмздили в магазине или на входе в магазин. . Цыганка на стреме, когда я выходил этот пидор из машины еще не слинял, она меня сучка отвлекала!

Аккумулятор посадил пытался завести.

Вот никак не припомню кто около меня вертелся...

Вспомнил! Цыгане закупали тележку продуктов, с пацаном! Мимо меня проходили!
Аватара пользователя
argon84
Недобрый
Сообщения: 2432
Зарегистрирован: 11 апр 2013, 15:26
Имя: Андрей
Откуда: Москва

флудерная

Сообщение argon84 »

leon10010, повезло, что не завели!
Правила, инструкции, как вставить фото и видео: viewforum.php?f=330
Аватара пользователя
новичок
Модератор
Сообщения: 18661
Зарегистрирован: 09 апр 2009, 08:11
Имя: Дмитрий
Откуда: Карелия

флудерная

Сообщение новичок »

leon10010 писал(а): 26 фев 2025, 00:20Цыгане
А потом они делают удивленные глаза и типа за что их не любят.
Как вставить фото - тут
Как вставить видео - тут
Инструкции по форуму - тут

_________________
Аватара пользователя
leon10010
Сообщения: 631
Зарегистрирован: 13 янв 2011, 00:13
Имя: Олег
Откуда: Жердевка

флудерная

Сообщение leon10010 »

argon84 писал(а): 26 фев 2025, 08:46 leon10010, повезло, что не завели!
Да. Сегодня утром в машину сел, гляжу - флэшки в проигрывателе нету. Пригляделся - фишка в гнезде а флэшка отломана на полу.
Скорее всего он сьбывался через пассажирскую дверь и перелазил через рычаги, ту и зацепил флэшку. Свою то дверь я видел, я шел с этой стороны. У меня друг был цыган, нормальный парень.
Но в основном да......
Всем утро доброе.
Аватара пользователя
МВП
Сообщения: 3713
Зарегистрирован: 19 окт 2010, 19:08
Откуда: Сызрань

флудерная

Сообщение МВП »

leon10010 писал(а): 26 фев 2025, 10:12 У меня друг был цыган, нормальный парень.
На Рейдовом работал цыган моторист , замечательный и очень работящий парень никогда не капризничал от перенапряжения и дело не бросал даже если не шло и не получалось , только вот непреодолимая тяга у него была к любому золотоблестящему . Будучи дежурным буксиром по каравану коллекционировал рынды . И он не он если не переложит пару в свой скобарник . Причем он их не сдавал и не продавал а набивал дома шкафы . С ним ничего не могли поделать так как ни разу замечен в хищениях не был .
Аватара пользователя
leon10010
Сообщения: 631
Зарегистрирован: 13 янв 2011, 00:13
Имя: Олег
Откуда: Жердевка

флудерная

Сообщение leon10010 »

пообщался с полицией сегодня. Итог - они решили я все придумал чтобы они побегали. :yahoo:
Первый и последний раз помогаю органам!
На камерах в магазине записей нету .
Аватара пользователя
МВП
Сообщения: 3713
Зарегистрирован: 19 окт 2010, 19:08
Откуда: Сызрань

флудерная

Сообщение МВП »

leon10010 писал(а): 26 фев 2025, 18:27 На камерах в магазине записей нету .
Ну я б сказал что все по серьезному но ..
Записей реально нету а угонщик лошара и машинка не ахти . Одно второго не стит . Туфта .
Записей нету потому что их никто не хочет видеть по причине...
Ну их нах , нет свободных следаков
Охр стер
Не работало
Нет четкости
Нет заявления происшествия ни письменного ни фиксированного через 112 .
Остальное может и приснилось в бреду от особого события если нет свидетелей для подтверждения . Или изысков экспертизы на деталях машины .

Забудь но помни .
Аватара пользователя
МВП
Сообщения: 3713
Зарегистрирован: 19 окт 2010, 19:08
Откуда: Сызрань

флудерная

Сообщение МВП »

У меня у жены несколь лет назад кумулятор вынули . Ножницами личинку замка щелкнули . Она вроде как то ли закрыла дверь то ли забыла , не стартует машина . Я приехал разбираться всю залапали . Причина нашлась . Приехали к обеду всю откатали и отляпали хер отмоешь . Результат только наша беготня и краешки чужого . Тож самое было с камазом , пол бригады суетилось исследуя да ну нах как так . Перевернутый урал тогда ощипали , тоже самое любопытная толпа помогла не найти хоть там полтора человека в округе . И лапки были но перезатертые уже .
Hitek
Сообщения: 2566
Зарегистрирован: 30 июн 2015, 13:57
Имя: Иван
Откуда: Пугачев

флудерная

Сообщение Hitek »

Раз такая пьянка, тогда и я свою историю взаимодействия с "органами" расскажу.

Года 3 назад дело было. Пошел на речку погулять. А по пути, карьер - глину берут. В одной из ямок, под кустиком, глядь: корпус фильтра Доновский лежит. Да так на мой похож! Ну и еще по мелочи. Я домой... И правда мой! И много чего еще не хватает. Ночью в засидку. Сшугнул, но кто - срисовал! Утром к участковому. Его нет. Телефон в отделе выпросил. Он недвусмысленно дал понять: ваши проблемы, сами и решайте. Ну я и принялся сам решать. Установил слежку за подозреваемыми :crazy: После обеда они по коням и в соседний район. Наверное краденное сбывать :) . Я за ними. Все ментовские номера какие знал - обзвонил. План перехват :))) . Но по настоящему, они шевелиться начали только тогда, когда сами подозреваемые позвонили 02 и сообщили, что их жизни угрожает опасность. В общем к вечеру весь райотдел был на месте, разве что без ОМОНа обошлись. В итоге "чистосердечное". Но это еще не все...

3 месяца дело шили! Вызвали показания дать, а тааама: и такая экспертиза, и такая... За наш с вами счет разумеется. Ладно. До суда неделька, приходят "потерпевшие": забери заявление. Заберу, говорю, 300 кг чермета сперли -- 300 делового привезите, будете знать сколько это стоит!.. Привезли. Забрал. Оправдали. Но не помогло... через неделю коня в соседней деревне угнали...
Аватара пользователя
МВП
Сообщения: 3713
Зарегистрирован: 19 окт 2010, 19:08
Откуда: Сызрань

флудерная

Сообщение МВП »

У нас по скромнее люди . Ваз не осилили так градообразующие Тех углерод ,Нефтемаш , Нефтехим монтаж , Сельмаш и Пластик уперли .
Там пустыри сквозь асфальт полынью прорастают а мы отсель грозим все шведам .
Hitek
Сообщения: 2566
Зарегистрирован: 30 июн 2015, 13:57
Имя: Иван
Откуда: Пугачев

флудерная

Сообщение Hitek »

МВП писал(а): 26 фев 2025, 20:06Ваз
Осилили. Правда, ума совсем развалить не хватило. Вот прям совсем недавно и с инспекцией рисовались...

Вернуться в «Трёп и аллё гараж»